自藕变压器降压启动的电动机控制电路
2019-05-08 11:24 文章来源:未知浏览次数:
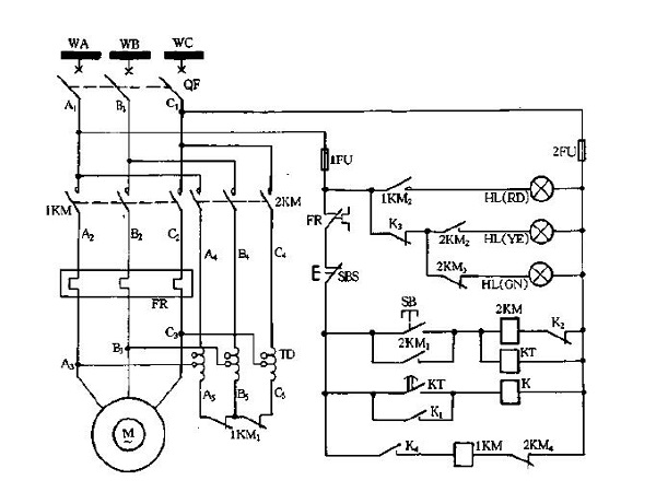
如图所示,左边部分为主电路,由断路器QF、接触器1KM、2KM的主触头、辅助触头1KM1、热继电器FR和自藕变压器TD等组成。右边部分为控制电路,由熔断器1FU、2FU、接触器1KM,2KM的线圈和辅助触头1KM2,2KM1——2KM4、中间继电器K及其辅助触头K1——K4、时间继电器KT及其辅助触头、控制按钮SB、SBS和信号灯HL(RD、YE、GN)等组成。

电动机启动时,先合上QF,绿色指示灯HL(GN)亮,表示电源引入。按启动按钮SB,接触器2KM线圈有电吸合,其主触头闭合,自藕变压器TD接入主电路,但由于加到电动机M上的是TD的部分电压,故电动机降压启动(降压启动的目的是减小电动机启动电流)。同时2KM的辅助触头2KM1闭合,实现自锁。2KM2闭合,黄色指示灯HL(YE)亮,指示电动机降压启动;2KM3断开,绿灯灭。
在接触器2KM通电的同时,时间继电器KT也通电,其常开触头延时闭合,使中间继电器K有电,其常开触头K1闭合自锁;常闭触头乓断开,2KM线圈失电,其所有触头复归原位;K4闭合,接触器1KM线圈有电,主触头闭合,电动机全压运转(正常运转);触头1KM2闭合,红色指示灯HL(RD)亮,指示电动机正常运转。同时KT失电,触头复归原位;K3断开,黄灯灭。要电机停转时,按停止按钮SBS即可。
调整时间继电器的延时时间,可以满足电动机启动时间的要求,在降压启动时间结束时,电动机自动转人全压运行。这个电路的短路保护由断路器实现,过载保护由热继电器FR实现。欠压(失压)保护由交流接触器实现。